• 阅读1382
  • 回复5

[六安事儿] 快看有没有你?关于六安市第五届“无记分有奖励”抽奖结果的公告

[复制链接]
发表于 2016-11-23 08:47 | 显示全部楼层 |阅读模式
    2016年11月22日,我市举行了六安市第五届“无记分有奖励”抽奖活动。市文明办、市公安局交警支队、市区车检服务站、驾校和4S店负责人,市邮政以及六安人保等单位代表参加抽奖仪式。
44.png
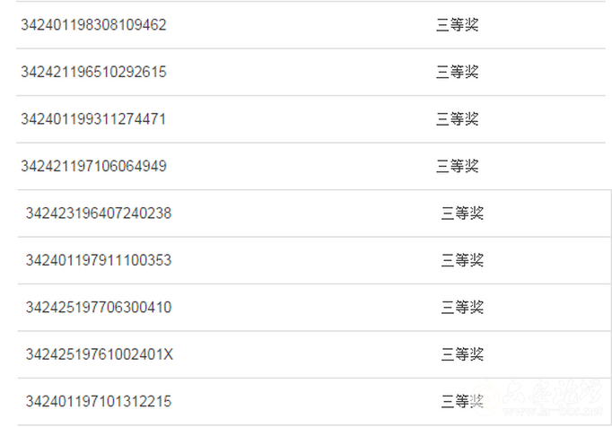
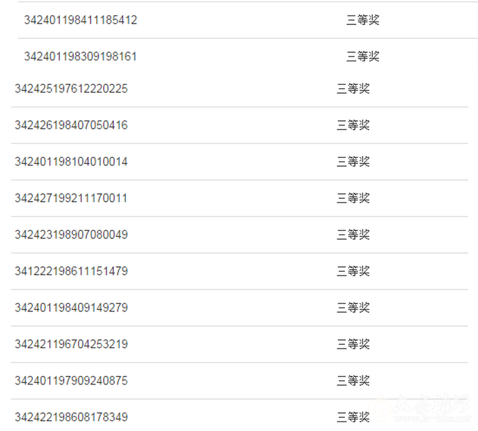
经六安市皋翔公证处现场监督并公证,共产生1402名获奖者,其中一等奖1名,奖价值10000元的中国石化加油充值卡;二等奖6名,各奖价值2000元的中国石化加油充值卡;三等奖25名,各奖价值200元的中国石化加油充值卡;四等奖370名。

(四等奖名单查看 请关注六安新周报微信后台回复关键词 四等奖),各奖价值100元的中国石化加油充值卡;参与奖1000名,各奖励交通安全宣传画册一本。现公告如下:
QQ截图20161123084906.png
QQ截图20161123084920.png
QQ截图20161123084930.png
请上述中奖人员于2017年1月31日17时前,持有效身份证明(身份证或驾驶证),六安市区(含外省、市身份证号码)中奖人员到六安市公安局交警支队宣传科803室领取奖品;各县及叶集区中奖人员到当地公安局交管大队宣传股(办公室)领取奖品,逾期按弃奖处理。

交警支队地址:312国道迎宾大道路口(汽车客运东站斜对面)
联系电话0564-3927025。
六安市公安局交通警察支队

六安论坛
发表于 2016-11-23 09:04 | 显示全部楼层
这个举办的挺好
六安论坛
回复 鲜花 臭蛋

使用道具 举报

发表于 2016-11-23 09:40 | 显示全部楼层
有没有水分啊
六安论坛
回复 鲜花 臭蛋

使用道具 举报

发表于 2016-11-23 14:50 | 显示全部楼层
表示木有
六安论坛
回复 鲜花 臭蛋

使用道具 举报

发表于 2016-11-23 16:21 | 显示全部楼层
过来看看,这个活动支持
六安论坛
回复 鲜花 臭蛋

使用道具 举报

发表于 2016-11-23 20:36 来自手机 | 显示全部楼层
这个活动支持
六安论坛
回复 鲜花 臭蛋

使用道具 举报

您需要登录后才可以回帖 登录 | 立即注册

本版积分规则

侵权举报:本页面所涉内容为用户发表并上传,相应的法律责任由用户自行承担;本网站仅提供存储服务;如存在侵权问题,请权利人与本网站联系删除!举报微信号:点击查看